李亚鹏宣布暂停直播带货,持股公司欠税634万
我言新闻 2026-02-09 18:19

2月8日,李亚鹏专门给为嫣然医院捐款的企业加开了一场直播带货。直播最后,李亚鹏称,一直不想占据荧幕,不想叨扰到大家。9日开始就要去忙嫣然医院的工作,春节前的直播告一段落,下次开播可能要到很久以后。

▲李亚鹏带货现场,图源:视频截图

第三方平台数据显示,李亚鹏8日晚的“承蒙厚爱感恩有你”主题直播持续了3小时33分,观看人次1684.2万,销售额7500万-1亿元。当晚直播间售卖的品牌包括莲花味精、卫龙、豪士面包、茶口乐、霞湖世家等,其中莲花味精相关商品销量超过30万单。

该直播间当晚也长时间占据“年货热卖榜第1名”的位置。

直播最后,李亚鹏给直播间网友“掏心窝子”,表示感谢。

李亚鹏称,这些天因为嫣然医院的事情占据了网友的荧幕,于他内心而言,并不是他“所求”。回顾这几年的历程,嫣然医院再难也一直是他自己憋着、忍着,并不想叨扰到其他人,一直都是希望能够用自己的力量度过去就好。

直到后来没有办法,必须由他亲自出来说明嫣然医院因欠租面临关停的相关情况,才发布视频进行解释,没想到让嫣然医院受到这么多人关注。

“对于我,还有整个嫣然的同事而言,后面的工作还非常漫长,我们也将投入到大量的工作当中去,就让这个事情早点过去吧。”李亚鹏称,在嫣然医院的年会上,所有的医护人员都表态说,以后要做得更好,才对得起大家的厚爱和重托。

▲李亚鹏开启感恩专场直播,图源:视频截图

直播中,李亚鹏对每一个支持嫣然医院的人表示感谢。同时,他也表示春节前的直播将告一段落,直播将暂停,“明天就要去开会,忙嫣然那边的事情。”李亚鹏称,下次开播可能要等到很久以后。

相关新闻:

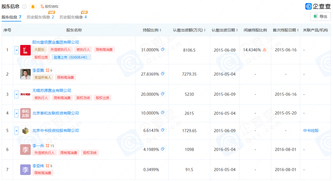
国家税务总局丽江市税务局行政执法信息公示平台显示,丽江雪山投资有限责任公司新增一则欠税公告,欠税余额634万余元,欠税税种为城镇土地使用税。企查查网站显示,李亚鹏是该公司受益所有人,持有该公司27.8369%的股份。

 

 

 

来源:极目新闻、荆楚网、中国新闻网

编辑:梁鹤龄 崔治国 徐靖

版权声明:凡本网注明来源为“盐城新闻网”或“盐阜大众报”“盐城晚报”各类新闻﹑信息和各种原创专题资料的版权,均为盐阜大众报报业集团及作者或页面内声明的版权人所有。任何媒体、网站或个人未经本网书面授权不得转载、链接、转贴或以其他方式使用;已经通过本网书面授权的,在使用时必须注明上述来源。